Wednesday April 2026

হটলাইন

কনটেন্টটি শেষ হাল-নাগাদ করা হয়েছে: মঙ্গলবার, ১৬ সেপ্টেম্বর, ২০১৪ এ ১০:২৮ AM

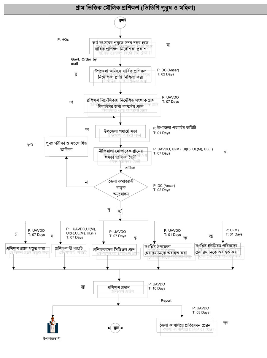
গ্রাম-ভিত্তিক-মৌলিক-প্রশিক্ষণ

কন্টেন্ট: সেবা এবং ধাপ

ফাইল ১

এক্সেসিবিলিটি

স্ক্রিন রিডার ডাউনলোড করুন